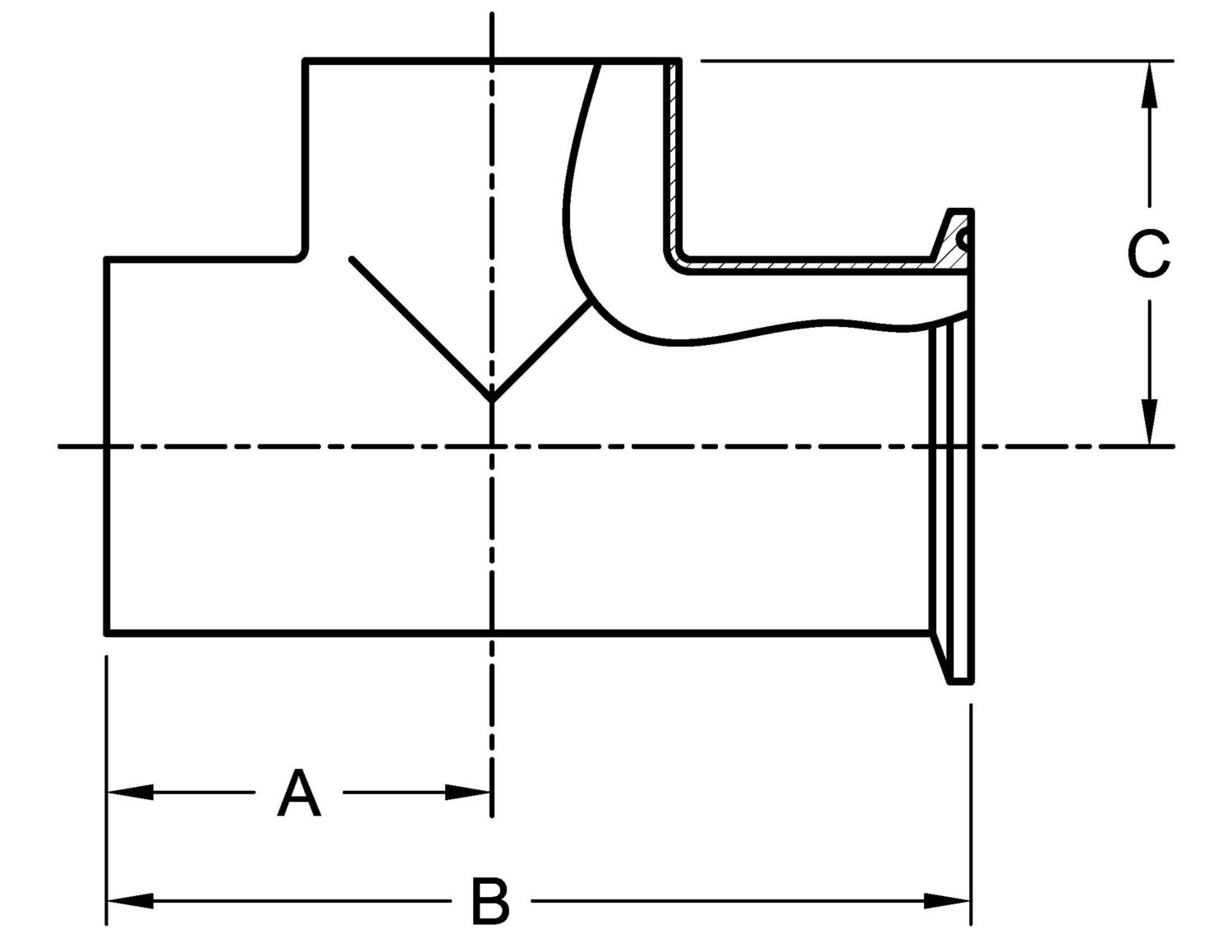
7WMW TEE, WELD X CLAMP X WELD OUTLET

Contact Us

Part NumberSize (inches)ABC
7WMW-111.1252.7501.125
7WMW-1.51 1/21.6563.8121.656
7WMW-222.0634.6252.063
7WMW-2.52 1/22.3445.1882.344
7WMW-332.5945.6882.594
7WMW-443.4387.5003.438

Ready to Order?

Call us at 585-492-5800 to speak to a live person who can provide answers and assist you with your order.

Call us at (585) 492-5800 or fill out the form below and one of our experts will be in touch quickly.

Name(Required)
Address(Required)
Drop files here or
Accepted file types: jpg, doc, docx, pdf, stp, Max. file size: 100 MB, Max. files: 5.
    Communication Preferences
    This field is for validation purposes and should be left unchanged.

    Did you know

    that you can check our inventory online — without a password? Simply click here and enter your part number. What could be easier?

    Check Inventory